Vietnē tiek izmantotas sīkdatnes, lai nodrošinātu tās pareizu darbību, uzlabotu pārlūkošanas pieredzi un mārketingu. Vairāk par izmantotajām sīkdatnēm un to atteikšanu – privātuma politikā

TERMINĀLA BLOKS 5pin vīriešu, lodēts

 CKK105K.jpg

TERMINĀLA BLOKS 5pin vīriešu, lodēts

Kods CKK105K
  • Svars bruto 0.00g

E-veikala cena: 0,1998

Daudzums: 3+ 5+
Cena: 0,1918 0,1898
Min. pasūtījums: 1 Daudzums iepakojumā: 1

Daudzums

Izpārdošanā, pieejamais daudzums: 10.
Preces atrašanās vietas:
Birojs/Centrālais noliktavas Kaunā, Gaižiūnų ielā 5A Prece nav noliktavā (0)
Veikals Viļņā, Ukmergės ielā 222 Prece ir noliktavā (10)
Veikals Kaunā, Savanorių prospekts 241 Prece nav noliktavā (0)

Apraksts

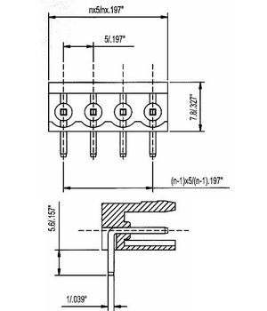
Kontaktu spraudņa savienotājs. Izvadi leņķveida.
Pieļaujamais spriegums: 300 V
Maksimālā strāva: 15 A
Izmēri: platums – 27,46 mm, augstums – 7,8 mm, dziļums –
12 mm Kontakts: bronzas pārklājums
Korpusa materiāls: PA66 (UL94V-0)
Pārtraukšanas spriegums: 1500 V AC/1 min.
Darba temperatūra: no -40 °C līdz +105 °C
Lodēšana: 250 °C / 5 sek. maks.

Specifikācija